登录
认证
游戏
机因
问答
数折
约战
闲游
Store
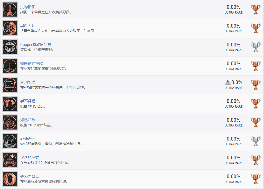
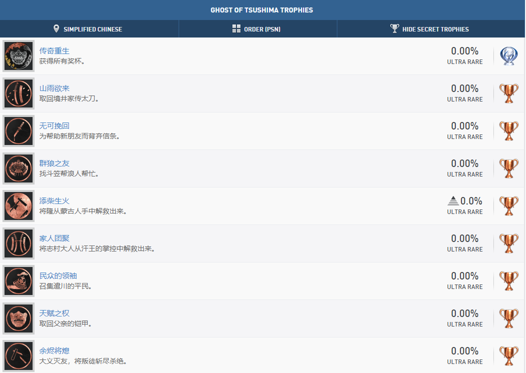
《对马岛之魂》奖杯放出。
出处
微博
微信
huangfcc
2020-07-16 21:19 36回复
评论
说是有任务bug,玩的时候记得多保存
zhangzong8598
2020-07-16 21:20
讲实在话 看奖杯都一股育碧味
sakura_p789cs
2020-07-16 21:22
放下过去 接受新职责的重担
yes_rpg
2020-07-16 21:24
游戏发售前看了不少预告片和一部分评测,只记住了一个名字:境井仁。
。。。。太出戏了。
otboibtio
2020-07-16 21:24
summer_1_breeze
2020-07-16 21:25
经典open world奖杯设置
ssxjp
2020-07-16 21:32
解放整个对马岛,艹 味儿正了。
persona_echo
2020-07-16 21:38
感觉会有new game+
unsocial_shadow
2020-07-16 21:43
一山不容二虎這杯比較有疑問而已,不知道會不會有失敗的情況
hsinchieh
2020-07-16 21:45修改
第一方游戏现在都好简单
alanchia0601
2020-07-16 21:47
网址链接给下呗,还是某app??
iphone6sp
2020-07-16 21:48
感觉难度还是有的
tsukilove45
2020-07-16 21:50
@iphone6sp
出处
huangfcc
2020-07-16 21:50
感觉收集项目还蛮多的,希望数量上别太多了
yagami_yang
2020-07-16 21:54
又要跑路了
shinobi921_hk
2020-07-16 21:55
最后个杯清理全地点?太刺客信条了
ayachisa
2020-07-16 21:59
Game-Breaking Progression Bugs Warning: There are lots of reports of quest markers bugging out and entire main- or side quests becoming impossible to complete. There’s about a 20% chance of this happening at some point throughout the game.
大家记得多存档
bill-jayustree
2020-07-16 21:59
虚假的刺客,真实的刺客. jpg
zyy48
2020-07-16 22:01
@sakura_p789cs
现在育碧都没有解放整个岛这种奖杯了
ms-caroldanvers
2020-07-16 22:02
看了下PYX白金手记。
1. 通主线(做支线,提前点踹人技能,尽早做一落千里奖杯),每小时存一个新档,会有20%几率任务报错丢失信息,无法继续游戏(严重BUG)。
2. 拔所有据点,清全图问号。
3. 全收集、全挑战。
4. 杂杯全清
5. 白金。
游戏一周目通关后可补所有收集、任务、挑战。没有错过奖杯,没有联机杯,没有难度杯。
就是留意存档,以防悲剧。
奖杯就是刺客信条+孤岛惊魂的套路。
plclear
2020-07-16 22:03修改
等bug修复再开坑了
cookie_cn
2020-07-16 22:05
照相杯作为最一个杯好像会很不错
nietzsonn
2020-07-16 22:21
这游戏主角死的时候会有“境井仁亡”几个大字吗?
ivan6219
2020-07-16 22:22
等骨折了,奖杯看着很简单
a2387767776766
2020-07-16 22:25
没有难度奖杯和二周目奖杯,你们懂我的意思吧
felixus0911
2020-07-16 22:46
@felixus0911
懂了,和蜘蛛侠地平线一样以后更新追加。
kokiqaq
2020-07-16 22:48
这个bug是基于什么版本报告的,刚更新1.04难道没修复吗
ms-caroldanvers
2020-07-16 23:19
@ms-caroldanvers
应该多少修了一些吧,毕竟还没发售就已经更新了4个版本了
ultraxionnet
2020-07-16 23:21
@ivan6219
哈哈哈哈哈哈哈哈哈,本日最佳
omega_neko0
2020-07-16 23:21修改
也是根據powerpyx, 白金大約50小時
m678hk0078
2020-07-17 00:11修改
@iphone6sp
一看这奖杯格式就是psnp的啊
nikezhang
2020-07-17 00:18
奖杯居然还有sly的图标,果然是他们工作室的吉祥物,次子的有没有?
nikezhang
2020-07-17 00:21
@nikezhang
我记得有,街上某些牌子印有sly的狐狸剪影
aikikalaskamaido
2020-07-17 08:32
@plclear
还行,只是bug无法推主线这种bug居然都放出来了
c3inhere
2020-07-17 08:34
感觉不是白金地狱级别,又是我喜欢的武士风,买了
eatonkong
2020-07-17 09:13
@aikikalaskamaido
sly不是小浣熊吗?
nikezhang
2020-07-17 09:33
回复不能
huangfcc
贵宾 Lv.3
T