登录
认证
游戏
机因
问答
数折
约战
闲游
Store
goldwatch
这里是机因
主页
PSN游戏
留言板
机因
SE公开《最终幻想7 重制版》神罗大厦入口处的概念艺术图,并附上了一张实机游戏画面作为对比。
goldwatch
2019-08-01 17:39 22评论
《十三机兵防卫圈》女性角色图公布。
goldwatch
2019-08-01 22:53 37评论
微软CEO Satya Nadella在接受《财富》杂志采访时提到了同索尼之间的合作,他表示:“这对我们来说是一个开始。合作最初是由索尼推动的,他们当时正在寻找值得信任的合作伙伴,事实证明即使我们...
goldwatch
2019-07-31 15:26 11评论
武侠单机游戏《天命奇御二》正式公布,发售日未定。本作的故事背景为北宋中期,朝廷与北方势力签订盟约后,边境对峙关系稍见和缓。国内各地客商因此云集汴梁,经济贸易更为发达。但在繁荣富庶的...
goldwatch
2019-08-02 08:16 52评论
DigitalFoundry 数毛了《德军总部 新血脉》的 Switch 版,本作依然由 Panic Buttons 负责移植,仍旧采用 id Tech 6 引擎,但此次 Switch 版于首日同步发售,其性能表现是否有所提升?·分辨率:...
goldwatch
2019-08-01 11:03 10评论
据IGN报道,开发商IO Interactive有了开发《杀手3》的准备,CEO Hakan Abrak表示:“《杀手》系列会是一个三部曲,同时我们会不断完善《暗杀世界》的内容,从巴黎开始一直到《杀手3》的最后一个...
goldwatch
2019-07-30 14:34 21评论
Level-5 正式宣布了《妖怪手表》初代高清化版本的发售日期, HD 化后的《妖怪手表1 for Nintendo Switch》将于 2019 年 10 月 10 日正式登陆 Switch。购入本作的玩家还可以获得一个在《妖怪手表...
goldwatch
2019-07-30 08:14 17评论
《火焰纹章 风花雪月》官方公开宣传图庆祝今日正式发售。
goldwatch
2019-07-27 11:41 21评论
动作游戏PS4《新樱花大战》公布最新游戏截图,本作的战斗容易上手,包含的操作有普通连击,冲刺,闪避,跳跃,蹬墙跑,奥义技以及组合技等。 每个角色都有独特的能力和特殊攻击,你和队友之间的...
goldwatch
2019-07-29 00:41 56评论
任天堂联合迪士尼推出《Disney Tsum Tsum 嘉年华》限定版Switch套装,包含了一台迪士尼主题的续航改良版Switch主机,以及《Disney Tsum Tsum 嘉年华》游戏本体和4个游戏服装兑换码。该套装将于...
goldwatch
2019-07-25 21:20 17评论
近日在国外Reddit论坛上有玩家向CDPR官方提出问题,询问在PS4上预购《赛博朋克2077》,能否获得预购奖励,诸如道具、武器之类的。CDPR表示:“我们不搞那一套,《赛博朋克2077》没有任何道具类...
goldwatch
2019-07-27 19:46 64评论
腾讯游戏宣布,天美工作室群与The Pokémon Company达成协议,将共同开发新款游戏。
goldwatch
2019-07-23 14:24 50评论
【本周Fami通新作评分】Switch《火焰纹章 风花雪月》9/9/10/9合计37分Switch《超级马力欧创作家2》9/9/9/10合计37分PS4/Switch《2020东京奥运 官方授权游戏》8/8/8/9合计33分PS4/Switch《斩服少...
goldwatch
2019-07-17 23:22 17评论
《生化危机5》《生化危机6》将于10月29日登陆 Switch。此外,美版还会推出实体版《生化危机4、5、6》合集包,其中4代为实体卡,5和6为下载版。
goldwatch
2019-07-19 10:03 16评论
开发商Supermassive Games的总经理Pete Samuels在接受采访时表示:《黑相集 棉兰号》里的五位角色在游戏过程中都可能死亡或者最终存活,总共会有69种不同的死法,想要完整体验需要通关8-9次。丰...
goldwatch
2019-07-18 09:32 38评论
作为一款允许玩家操纵所有NPC的游戏,《看门狗 军团》另一个有趣的地方就是角色的死亡是不可逆转的。不过有玩家担心如果自己在某一角色上投入了大量精力,但他死亡时剧情是否会受到影响,针对这...
goldwatch
2019-07-17 22:47 20评论
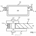
美国专利及商标局今日公开了一项微软于2017年注册的专利,其中出现了类似于Joy-con的可拆卸手柄。微软在描述中表示该设备可作为触屏装置的临时手柄使用,他们在之前曾通过3D打印的方式展示过它...
goldwatch
2019-07-10 16:41 11评论
《莱莎的炼金工坊》人设图。
goldwatch
2019-07-10 19:40 14评论
《赛博朋克2077》在E3展上的实机演示让玩家们认为这款游戏将是硬件杀手。近日CDPR的Alvin Liu在接受媒体采访时表示,虽然PC版可以在更强的硬件下表现更好,不过主机版和低配电脑运行的画面效果...
goldwatch
2019-07-11 17:54 21评论
3D CG动画《圣斗士星矢:黄道十二宫战士》公开了中文版最新预告,本片将讲述“银河战争篇”和“白银圣斗士篇”的剧情,共12话,预定于 7月19日 在Netflix独家播出。
goldwatch
2019-07-10 21:32 4评论
迪斯尼《花木兰》1998年原版动画海报与2019年真人版对比。
goldwatch
2019-07-10 20:17 76评论
SEGA Games宣布,关于预计在今年冬天发售的 PS4 游戏《新樱花大战》,本次公开了第 2波情报。『新樱花大战』以架空年代「太正时代」的帝都・东京为舞台。描绘了「帝国华击团」对抗邪恶势 力的活...
goldwatch
2019-07-05 12:33 14评论
Netflix《巫师》真人剧照。
goldwatch
2019-07-03 19:34 30评论
《莱莎的炼金工房》角色插图。
goldwatch
2019-07-01 08:42 61评论
分享几张《纷争 最终幻想NT》的追加角色「蒂法」
goldwatch
2019-06-29 16:25 25评论
暴雪前总裁兼联合创始人Mike Morhaime本周在巴塞罗那的GameLab活动上谈到了暴雪在以往的决策失误。首先Morhaime提到遭到取消的《泰坦》项目:“我们曾尽量不去公布那些尚未准备完成的作品,然而...
goldwatch
2019-06-27 22:40 10评论
发行商GSE亚洲游戏娱乐公司宣布,由香港团队Anti Gravity Game开发的Nintendo Switch专用的第三身视点动作塔防游戏《炼狱围城》(Hell Warders)今天(2019年6月27日)发售。首批购买《炼狱围城...
goldwatch
2019-06-27 10:25 2评论
援引《华尔街日报》报道,任天堂正在酝酿两款基于Switch的衍生版游戏主机,并已经在东南亚投入生产,有望于2019年圣诞购物季上线。传闻称两款新 Switch 主机分别为 Lite 和 Pro 版本,其中前者...
goldwatch
2019-06-25 14:43 25评论
PS4照相恋爱模拟游戏《LoveR》宣布将于2019年9月26日推出繁体中文版,其中普通版售价428港币,典藏版售价758港币,包含游戏、特质外盒、画册、海报和11套DLC服装。预购特典为6张角色剧情照片和...
goldwatch
2019-06-24 14:44 20评论
制作人「野村哲也」接受Fami通采访表示,《最终幻想7 重制版》增加了许多新剧情和新敌人,原作中克劳德的女装剧情依然会被保留,并且会结合现代风格进行调整。
goldwatch
2019-06-20 15:12 12评论
1
...
23
24
25
26
27
...
126
3759条
T